微策生物举债输血关联方,供应商采购数据前后矛盾
来源:壹财信
作者:赵书涵
杭州微策生物技术股份有限公司(下称“微策生物”)自成立以来专业从事POCT(即时检测)产品的研发、生产与销售,并建立起生物传感电化学、免疫和分子三大技术平台、拥有干式生化等领域的研发成果。目前微策生物各平台POCT产品涵盖数十种检测项目。
从主营业务收入构成来看,2020年起新冠检测业务的收入已经成为微策生物的重要收入来源,而此前主打业务血糖监测的收入占比则持续降低。2022年3月25日,正在申报创业板IPO的微策生物因受新冠疫情影响而主动申请中止发行上市审核程序。
报告期初现金流失血,仍举债输血关联方
截至本次发行前,微策生物的控股股东是杭州微著企业管理合伙企业(有限合伙,下称“杭州微著”),持股占比为31.33%。杭州微著的股东是三名自然人,杨清刚、王成超和杨蓉,出资占比分别为30.04%、34.98%、34.98%,以上三人亦是微策生物的实控人,合计控制公司50.14%股权。
2018年至2020年,微策生物曾多次拆出资金给控股股东和实控人,来解决控股股东及实控人的资金周转问题。但是从微策生物自身的经营状况来看,2018年和2019年,微策生物业绩低迷并且现金流出现了失血的情况,偿债能力也承压。
2018年至2020年,微策生物经营活动产生的现金流量净额分别为-1,746.86万元、1,509.56万元、21,833.72万元,2018年的净额为负数,直到2020年才得到极大的改善。2018年和2019年,微策生物的资产负债率也维持在高位,接近70.00%,分别为69.80%、69.09%,而同行可比公司同期的资产负债率平均值仅为28.03%、23.82%,相差超过40个百分点。
从2018年至2020年的业绩来看,微策生物实现营业收入12,473.56万元、16,852.26万元、67,194.45万元,2019年和2020年的同比增长分别为35.10%、298.73%;实现净利润-1,463.84万元、1,392.41万元、16,015.25万元,微策生物即使2018年的收入达上亿元,可是利润依然亏损,2019年才实现由亏转盈,2020年净利润同比增长1,050.18%。
在这样的业绩情况下,微策生物2018年至2019年仍慷慨向控股股东及实控人输血,合计拆出资金6,594.30万元,公司参照同期银行贷款利率向关联方收取相应利息。而2018年12月,微策生物从第三方诸暨经开创融投资有限公司拆入资金3,000.00万元,拆借时间为1年,约定的年利率为6.00%。
机构股东多次申请注销,变更投资人或成大赢家
报告期内,控股股东杭州微著因资金需求多次向外部投资者转让股权。其中2019年10月因受让股权而加入的机构投资者引起了《壹财信》的注意。
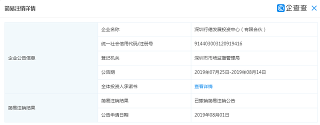
2019年10月16日,深圳行德发展投资中心(有限合伙,下称“行德投资”)以500.00万元价格受让杭州微著持有的微策生物1.11%的股权计52.22万元出资额。
行德投资成立于2014年9月,从深圳市市场监督管理局公示的变更信息来看,2016年4月和2018年12月行德投资均进行了清算备案。据企查查信息,2019年7月25日,行德投资的原股东付文杰、罗衍智二人向深圳市市场监督管理局申请简易注销登记,而2019年8月1日又撤销了简易注销公告。
(截图来自深圳市市场监督管理局)
(截图来自企查查)
撤销简易注销公告后,当月8日,行德投资不仅进行了公司名称变更,还进行了投资人变更。股东由付文杰(出资占比50.00%)、罗衍智(出资占比50.00%)变为深圳首信投资基金管理有限公司(下称“首信投资”,出资占比1.00%)和穆锴峰(出资占比99.00%)。首信投资此时的投资人是付文杰和罗衍智。
2019年8月21日,首信投资退出,自然人孙琴加入。不到两个月,行德投资受让股权成为微策生物的股东。目前,行德投资的投资人是穆锴峰和孙琴,出资占比各为99.00%、1.00%。
在上述签订股转协议的同一天,微策生物还发生一次股权转让,其中一股东成立时间竟然晚于协议签订的时间。
杭州智得企业管理合伙企业(有限合伙,下称“杭州智得”)与老股东杭州微著、信宗、王海蛟签订股权转让协议。其中,杭州微著将其持有的微策生物1.93%的90.87万元股权转让给杭州智得,转让价款为870.00万元;信宗将其持有的微策生物0.22%的10.44万元股权转让给杭州智得,转让价款为100.00万元;王海蛟将其持有的微策生物0.44%的20.89万元股权转让给杭州智得,转让价款为200.00万元。
但是《壹财信》注意到,杭州智得成立于2019年10月28日,签订协议的时间却在2019年10月16日。根据国家企业信用信息公示系统披露的变更信息,当时的出资人是杨蓉、马约翰、向庆宁三人。杨蓉是微策生物的实控人之一,其余两人身份不明。
(截图来自国家企业信用信息公示系统)
招股书信披前后矛盾,部分供应商显示“不一样”
这次IPO,微策生物聘请的保荐机构是中信证券,会计师事务所是立信所。在微策生物公示的申报材料中,《壹财信》发现前五大供应商的采购金额前后出现差异,不知因何造成。
微策生物3月9日公示的最新版招股书,不仅披露了报告期内的前五大供应商采购情况,还详细介绍了各大供应商。
上海智励电子有限公司是微策生物2019年和2021年1-6月的前五大供应商之一,两期分别向微策生物提供芯片产品454.98万元、861.62万元。微策生物在详细介绍这个供应商的基本情况时,提及双方的合作时间是从2019年开始,2019年至2021年上半年双方的交易金额分别为454.98万元、745.40万元、861.62万元。2019年和2021年上半年重叠年份的采购金额披露一致。
供应商塞纳医药包装材料(昆山)有限公司向微策生物提供试纸筒,招股书在以上两处地方披露的重叠年份2018年和2019年的采购数据也一致。
但是,微策生物还存在多个供应商的采购金额披露不一致的情况,高唱“我们不一样”。
据招股书,杭州瑞盟科技有限公司(下称“瑞盟科技”)是微策生物2018年的第二大供应商,向微策生物供应芯片572.88万元。但是在披露双方报告期内的所有相关交易时,微策生物2018年至2021年1-6月分别向瑞盟科技采购芯片569.79万元、241.03万元、192.73万元、115.82万元,2018年的采购金额前后相差3.09万元。
武汉睿奇生物工程有限公司是微策生物2020年和2021年上半年的第一大供应商,采购金额分别为10,714.30万元、12,672.12万元。微策生物在介绍这一供应商基本情况时,披露2020年及2021年上半年双方的交易金额分别为10,592.75万元、12,659.32万元,重叠年份的采购数据存在差异。
存在采购数据差异的还有杭州博旭生物技术有限公司、杭州伊佰新生物技术有限公司、江苏科华医疗器械科技有限公司等供应商。这其中的信披差异或需微策生物及中介机构进行核实。

