与非关联方商标商号“撞车”,雅宝电子IPO或有重大潜在风险
来源:壹财信
作者:唐 柯
6月8日,漳州雅宝电子股份有限公司(下称:雅宝电子)更新了IPO招股书,拟在深市创业板上市。
《壹财信》注意到,2019年至2021年(下称:报告期),雅宝电子在可利用资金充裕、相关财务指标优于同行的情况下仍募集资金进行补流;而与无关联关系企业出现商标雷同、商号相似的情形也令其存在潜在的风险。
不差钱仍补流
雅宝电子主营业务为热熔断体等电路保护元器件的研发、生产与销售,主要产品为合金型热熔断体和有机物型热熔断体。经过近17年的发展,公司品牌“雅宝”/“AUPO”已在行业和客户中获得了良好的口碑和较高的市场影响力。
此次IPO,雅宝电子拟募集资金36,706.97万元投向热熔断体扩产项目、温控器建设项目、研发中心建设项目并补充流动资金。
其中补充流动资金金额为5,500.00万元,而热熔断体扩产项目与温控器建设项目的投资概算中同样包含了铺底流动资金,上述各项补流资金合计8,576.23万元,占总募投金额的23.36%。
但分析雅宝电子的实际经营情况,发现企业可利用资金相对充足,多项财务指标均优于同行业可比公司,不差钱仍募资补流。
首先是可利用资金方面。报告期内,雅宝电子分别实现营业收入1.29亿元、1.46亿元和1.68亿元,同期实现净利润3,253.16万元、5,002.79万元和5,351.99万元,经营性活动产生的现金净流为4,854.15万元、4,422.43万元和4,245.00万元。
而雅宝电子账上资金也相对充裕。报告期内,雅宝电子的银行存款分别为2,815.21万元、3,172.25万元和6,405.44万元,同期还持有1,500.14万元、3,900.00万元和2,675.69万元的交易性金融资产,二者合计占流动资产比50%左右,而流动负债(以应付账款、应付职工薪酬、应交税费为主)是公司负债的主要组成部分,且报告期各期末企业并无银行借款。
同时对雅宝电子的营运能力进行分析。报告期内,无论是总资产周转率、应收账款周转率还是存货周转率,其营运能力指标均优于同行可比公司。
偿债能力同样如此。报告期内,雅宝电子的资产负债率仅分别为17.96%、17.68%和13.56%,而同行可比公司平均水平均超过20%;雅宝电子的流动比率、速动比率也均高于同行业可比公司平均数,说明企业的短期偿债能力及资产流动性、变现能力都优于同行业。
值得一提的是,2019年度及2020年度,雅宝电子还分别进行了4,400.00万元和3,042.19万元的现金分红,累计分红金额超过7,000.00万元。
商标商号“撞车”
2020年7月,雅宝电子为提升经营质量、优化资本结构,聚焦主营业务,将报告期内唯一的全资子公司厦门雅宝电子有限公司(2020年12月更名为厦门湖里区汇誉衡电子有限公司,下称:厦门雅宝)转让给了自然人范辉扬和施适钦,其中施适钦系雅宝电子第二大股东温开强配偶之弟。
厦门雅宝是由实控人郭星源等人于1995年在厦门市设立,2017年雅宝电子为消除同业竞争而对其进行收购,当时其主要业务为销售温度保险丝,此后雅宝电子逐步承接了厦门雅宝的销售业务并直接维护相关客户。自2019年6月起,厦门雅宝停止销售业务,并以出租自有厂房收取租金作为主要收入来源。
据问询回复,范辉扬、施适钦受让厦门雅宝的目的主要为获取投资性房地产投资价值,受让价格以厦门雅宝截至2020年4月30日的所有者权益评估值(评估值2,190.99万元,评估增值533.86万元)为基础,最终以2,400万港元的价格成交。据企信网,2022年2月15日,厦门雅宝因决议解散成立清算组,目前正在办理注销手续。
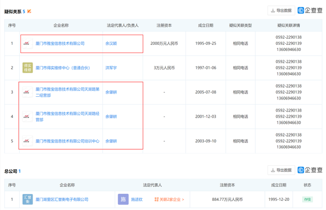
值得注意的是,厦门雅宝的企信网页面显示公司还有分支机构,名为“厦门市雅宝信息技术有限公司耗材分公司”,目前厦门雅宝正在办理注销手续,但该分支机构仍然存续,且通过公开信息,该分支机构现主体公司或为厦门市雅宝信息技术有限公司(下称:雅宝信息),更巧合的是,雅宝信息不仅或与雅宝电子原子公司有潜在关联,还与雅宝电子共用同一商号,商标也出现雷同。
(截图源自企信网)
(截图来自企查查)
企查查显示雅宝信息备案网站的域名为“aupo.com.cn”,与雅宝电子的域名“aupo.com”仅有后缀存在差别。而浏览二者的官网发现,除色彩存在差异外,两家企业的商标在字形、整体外观上都极其雷同。
(截图源自雅宝信息及雅宝电子企业官网)
二者的微信公众号页面同样出现了商标使用雷同的情况。
(截图源自微信)
据雅宝信息官网,雅宝信息以计算机软件、硬件系统及其相关设备的集成为主,集科、工、贸于一体。企信网显示其股东为自然人余汉颖、韦开宏和卓志良。不过凭借以上信息尚无法得知雅宝信息与雅宝电子存在何种关联,雅宝电子的招股书中也未提及雅宝信息。
据企信网显示,雅宝信息的商标信息中出现了与雅宝电子招股书中形同的商标图案。查询雅宝电子继受取得的1171377号注册商标的相关信息,显示该商标的申请人为雅宝益利通有限公司,申请日期为1997年1月,但雅宝益利通有限公司与雅宝电子有何关联,我们不得而知。
(截图源自企信网雅宝信息相关页面)
(截图源自启信宝)
此外,在雅宝电子的企查查页面中出现了疑似同电话企业,其中一家名为深圳市雅宝益利通电子有限公司(下称:雅宝益利通),但该企业与上文提到的雅宝益利通有限公司有何关联,我们无法得知。
企查查显示雅宝益利通的经营范围为电子元器件、电气设备零配件的购销以及其它国内商业、物资供销业,官网网址www.aupo.com.hk,该网址跳转后出现的页面却与招股书披露的两个域名之一china-aupo.com所进入的页面相同,疑似雅宝电子的英文官网。
(截图源自https://www.china-aupo.com/)
据企查查,雅宝益利通由自然人黄鸿基、李小成持有,企业已于2020年4月被吊销营业执照。
企查查显示,雅宝电子的另一家疑似同电话企业名为馨源(深圳)电子有限公司(下称:馨源电子),其官网显示企业自1980年就开始自主设计、研发、制造热熔断体(温度保险丝),而这与雅宝电子的主营业务相同。
(截图源自企查查)
(截图源自馨源电子官网)
(截图源自雅宝电子官网)
据企信网,馨源电子成立于2019年1月,由自然人戴佰庆、朱明婕、胡志恒持有,而其与雅宝电子又存在何种关联,我们又不得而知。
大量使用商标的雷同或对上市后的雅宝电子带来潜在的风险,对于这一问题,或需雅宝电子的保荐机构进一步进行核查,审核部门应重点关注。

