壹财信

韶能股份等成立环保科技公司

企查查 发布于 2026年03月25日 00:39

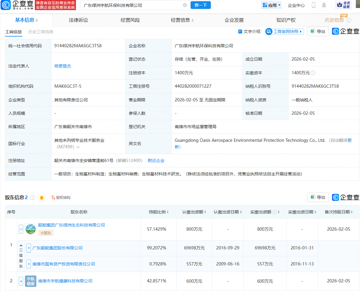
企查查APP显示,广东绿洲宇航环保科技有限公司成立,法定代表人为杨更登杰,注册资本为1400万元,经营范围包含:生物基材料制造;生物基材料销售;生物基材料技术研发。企查查股权穿透显示,该公司由韶能股份(000601)旗下韶能集团广东绿洲生态科技有限公司、南雄市宇航健康科技有限公司共同持股。

本文系作者个人观点,不代表本站立场,转载请注明出处!