和泽医药信披尴尬:合同签署竟“早产”,增资价格现“双标”
来源:壹财信
作者:唐 柯
CRO是一种学术性或商业性的科学机构,负责实施药物研究开发过程中所涉及的全部或部分活动,基本目的在于受客户委托进行全部或部分的科学或医学试验,以获取相应的报酬。医药研发活动的复杂性、长期性和高投入等特征催生了CRO行业这一新兴行业的兴起,医药行业的高速发展加速了CRO行业的迅速成长。
而浙江和泽医药科技股份有限公司(下称“和泽医药”)作为一家主要从事药品研发专业服务的CRO企业,在此背景下正欲冲刺科创板。
合同签署“早产”
招股书显示,和泽医药的主营业务涵盖了仿制药开发、药物一致性评价、创新药开发等在内的药学研究、临床试验服务、技术成果转化服务。在2017年度、2018年度、2019年度,和泽医药连续获得中华全国工商业联合会医药业商会授予的“中国医药研发公司20强”。
但伴随着行业竞争日趋激烈,和泽医药在持续加大研发投入外,其销售费用也节节攀升。
据招股书,2018年至2020年(下称“报告期”),和泽医药的销售费用分别为488.97万元、1,054.79万元和1,120.10万元,销售费用率分别为6.86%,5.67%和3.89%,即使呈逐年下降趋势,但也高于同期同行可比公司的平均值。
据和泽医药介绍,2018年度和2019年度,公司销售费用率高于同行业可比公司
均值 ,主要原因系为了业务规模的不断扩张,公司加大市场开拓及业务推广力度,由于公司与同行业可比公司相比收入规模较小,销售费用率略高于同行业可比公司的平均值 。
但是,《壹财信》在查阅其经营过程中的合同签订情况时,竟然发现有合同签订时间早于对方成立时间的尴尬状况。
销售业务方面,和泽医药还披露了公司截至2020年底,对公司报告期经营活动、财务状况和未来发展等具有重要影响的已履行和正在履行的、金额1,000.00万元以上的销售合同,而这其中存在着合作客户刚刚成立便签订合同的情形。
2020年6月3日,和泽医药与金华市奥韦医药技术合伙公司(有限合伙)签订了药学研究+临床研究的销售合同,而该客户的成立日期为2020年6月1日,仅早于合同签署日前两天,同样的情形还出现在另一客户金华市拉非医药技术合伙企业(有限合伙)身上。
景晖(杭州)医药有限公司成立于2020年8月6日,而在其成立不到两周后,和泽医药便与其签署了千万级的药学研究+临床研究合同。
令人更不解的是,和泽医药与湖州司肼医药技术合伙企业(有限合伙)(下称“司肼医药”)在2020年8月31日签署了金额为1,050.00万元的销售合同。但据企信网,司肼医药成立于2020年10月23日,晚于合同签署日期。这是招股书信披存在差错,还是另有隐情,我们不得而知。
(截图来自企信网)
增资价格存疑
继续梳理招股书还发现,和泽医药在增资过程中的价格存在疑点。
2020年6月30日,杭州和泽医药科技有限公司(发行人前身,下称“和泽有限”)进行股权转让并增资,股权转让定价为49.30元/出资额。
同日,和泽有限召开股东会,审议通过了增加注册资本223.90万元人民币的事项,其中:宁波益乐企业管理合伙企业(有限合伙)(下称“宁波益乐”)以货币认缴新增注册资本16.99万元,杭州坤百企业管理合伙企业(有限合伙)(下称“杭州坤百”)以货币认缴新增注册资本14.21万元,湖州精研企业管理合伙企业(有限合伙)(下称“湖州精研”)以货币认缴新增注册资本67.55万元,宁波和言企业管理合伙企业(有限合伙)(下称“宁波和言”)以货币认缴新增注册资本42.39万元,宁波亿坤企业管理合伙企业(有限合伙)(下称“宁波亿坤”)以货币认缴新增注册资42.19万元,杭州海邦羿谷从正创业投资合伙企业(有限合伙)(下称“海邦羿谷”)以货币认缴新增注册资本30.43万元,湖州淳鑫企业管理合伙企业(有限合伙)(下称“湖州淳鑫”)以货币认缴新增注册资本10.14万元。
以上参与增资的各方新进股东中,宁波益乐与杭州坤百系和泽有限设立的员工持股平台。
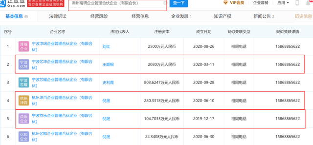
但通过对比公开数据,还发现其余几家参与本次增资的股东与和泽有限也有着千丝万缕的关系。
据企查查,湖州精研、宁波和言与宁波亿坤的2020年工商年报填写的地址为浙江省杭州市钱塘区1号大街101号,与和泽医药的主要生产经营地址一致。
另外,湖州精研、宁波亿坤的登记电话还与员工持股平台宁波益乐与杭州坤百的相同。
(截图来自企查查)
除了电话、地址存在联系的情况外,宁波和言的股东中还有和泽医药员工的身影。据招股书,本次增资过程中,陈一进、汤丽玲和陈丽芳等十名公司员工通过宁波和言间接持有公司股份。
然而宁波和言与员工持股平台不同的地方在于其股东构成中还有和泽医药的关联客户与供应商的相关人员。湖州精研、宁波亿坤及湖州淳鑫同样存在关联客户、供应商间接持有和泽医药股份的情况。
而根据首轮问询回复,和泽医药存在客户、供应商在申报前入股的情形。上交所也对此要求其解释说明客户、供应商入股的背景及原因,是否符合行业惯例。
据和泽医药第二轮审核问询函的回复,除浙江赛凯医药科技有限公司(关联客户、供应商)、宁波那非医药技术合伙企业(有限合伙)(发行人曾担任GP并出资)、浙江赛辰医药科技有限公司(原系发行人的孙公司,已注销)的关联人员王芳还通过宁波和言间接持股外,其余入股公司的客户、供应商的关联人员均已转出全部出资。
然而还值得注意的是,在上述增资过程中的价格或存在疑点。
据招股书,本次增资中,员工持股平台宁波益乐及杭州坤百以24.65元/出资额的价格参与本次增资,并参考2020年8月公司第十次增资的估值水平(即10.00亿元)计提股份支付,对应注册资本1,440.94万元,可以计算出此次增资的公允价格为69.40元/出资额。
但令人奇怪的是,同期有公司员工及关联客户、供应商持股的湖州精研等五家投资机构系以49.30元/出资额参与和泽医药第九次增资,定价依据系结合公司的资产状况、整体估值、经营业绩以及未来发展前景,经各方协商确定,按6.00亿元整体估值增资。
外部投资者与员工共存的投资机构以49.30元/出资额参与增资,而同期还有其他员工持股平台的增资价格是以两个月后的企业估值水平作为定价依据并计提股份支付,这一公允价值69.40元/出资额相较于49.30元/出资额,每出资额多出近20.00元,且上述两方参与增资的定价依据也不尽相同,更有企业关联客户、供应商突击入股,和泽医药或应对此做出解释。

